【導讀】對于工業 4.0 和工業物聯網 (IIoT) 的智能工廠設計者而言,需要能夠快速部署緊湊、強大、低延遲和低功耗的自動控制網絡接口。工業以太網 (IE) 正在不斷地滿足各種性能要求,它采用以太網協議下的 PROFINET、EtherNet/IP 或 EtherCAT 等協議,以及修訂版媒體訪問控制 (MAC) 層,以提供工業 4.0 設備所需的低延遲和實時性能。
對于工業 4.0 和工業物聯網 (IIoT) 的智能工廠設計者而言,需要能夠快速部署緊湊、強大、低延遲和低功耗的自動控制網絡接口。工業以太網 (IE) 正在不斷地滿足各種性能要求,它采用以太網協議下的 PROFINET、EtherNet/IP 或 EtherCAT 等協議,以及修訂版媒體訪問控制 (MAC) 層,以提供工業 4.0 設備所需的低延遲和實時性能。
然而可能面臨的挑戰是,在確保 IE 軟件獲得認證以保證運行可靠和互操作性的同時,為靈活地實施 IE 而收集所有必要的組件。
此外,還存在電源效率和環境方面的問題。例如,IE 網絡通常使用線型或環型網結構,其布線長度要少于星型網絡。然而,線型和環型網要求每個設備提供兩個以太網端口,這使得物理層 (PHY) 的功率耗散成為設計的關鍵。
工業環境中的溫升以及對緊湊型解決方案的需求,使得設計者必須仔細管控 IE 實施的功耗預算。
我們來考慮一個具有 2.5 W 功率耗散預算的 IE 端口,其中現場可編程門陣列 (FPGA)、雙數據速率 (DDR) 存儲器和以太網交換機共消耗 1.8 W。這樣就有 700 mW 可分配給兩個 PHY(圖 1)。

圖 1:以太網線型(中間)或環型(右)架構中的每個設備都需要兩個 PHY(左)。(圖片來源:Analog Devices)
除了滿足具有挑戰性的功率耗散預算要求外,工業設備還需要符合國際電工委員會 (IEC) 和歐洲規范 (EN) 的若干電磁兼容性/靜電放電 (EMC/ESD) 標準。
· IEC 61000-4-2 ESD
· IEC 61000-4-4 電氣快速瞬態 (EFT)
· IEC 61000-4-5 浪涌
· IEC 61000-4-6 傳導抗擾度
· EN 55032 輻射和傳導發射
按照所有這些標準進行測試,成本高且耗時長。而且,如果在測試和認證過程中出現任何問題,就會延長上市時間并增大成本。
參考設計能夠簡化 IE 實施
為了幫助克服與 IE 實施有關的諸多難題,Analog Devices 開發出 Chronous RapID 平臺第 2 代嵌入式參考設計。Chronous 提供了一個全面的 IE 開發環境,包括經過驗證的、成熟的硬件和軟件,以適應常見的 IE 協議。
該開發環境包括兩個以太網 PHY,使其適用于以線型或環型拓撲結構聯網的設備。有三種板卡可供選擇,具體包括 EtherCAT (EV-RPG2-ECZ)、EtherNet/IP (EV-RPG2-ENZ) 和 PROFINET (EV-RPG2-PNZ) 的預認證軟件。EV-RPG2 評估套件(圖 2)提供了一個全面的開發環境,包括:
· 基板 — 帶有 ADIN2299 RapID 第 2 代具有認證協議軟件的模塊
· 帶有通用插頭適配器的壁插式交流 (AC) 適配器
· USB A公頭到 USB micro B 公頭的電纜
· 以太網電纜

圖 2:EV-RPG2 評估套件包括快速部署 IE 網絡設備所需的一切。(圖片來源:Analog Devices)
利用 EV-RPG2 開發套件,設計者能夠在進行集成之前快速驗證主處理器與智能工廠設備(如可編程邏輯控制器 (PLC))之間的通信路徑。除了預先經過測試的軟件外,EV-RPG2 還具有低功耗的特點,已經按照相關的 IEC 和 EN 標準進行了測試,并支持針對各種使用案例進行定制。
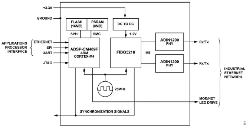
ADIN2299 模塊具有適合嵌入式應用的小尺寸,以及低功耗和低延遲的特點。該模塊是一種全面的、預先經過測試的解決方案,能為應用處理器管理工業協議和網絡流量,并加速 IE 與現場設備的集成。這種解決方案包括一個通信控制器、協議棧、閃存、RAM、從控制器和兩個 PHY 接口,以及 EtherCAT、PROFINET 實時 (RT) 或同步實時 (IRT) 和 EtherNet/IP 網絡所需的特定軟件(圖 3)。

圖 3:ADIN2299 模塊具有適合嵌入式應用的小尺寸,并有兩個以太網 PHY(右)。(圖片來源:Analog Devices)
ADIN2299 嵌入式 IE 模塊中的 PHY 使用兩個 ADIN1200 低功耗、單端口 10 Mbps 和 100 Mbps 以太網收發器。ADIN1200 有一個節能型以太網 PHY 核心、模擬電路、輸入和輸出時鐘緩沖、管理接口和子系統寄存器、MAC 接口和控制邏輯。ADIN1200 的其他特點包括:
· 符合 10BASE-Te/100BASE-TX IEEE 802.3 標準
· 媒體獨立接口 (MII)、精簡型 MMI (RMII) 和精簡型千兆 MMI (RGMII) MAC 接口
100BASE-TX RGMII 延遲:發送 <124 ns,接收 <250 ns
100BASE-TX MII 延遲:發送 <52 ns,接收 <248 ns
· 符合
IEC 61000-4-4 電氣快速瞬變 (EFT) (±4 kV)
IEC 61000-4-5 浪涌 (±4 kV)
IEC 61000-4-6 傳導抗擾度
EN55032 輻射和傳導發射(A 級)
· -40°C 至 +105°C 環境工作范圍
· 1.8 V 時,100BASE-TX 的功耗為 139 mW
· 5 × 5 mm,32 引線框架芯片比例封裝 (LFCSP)(圖 4)

圖 4:ADIN1200 以太網收發器堅固耐用,其 5 mm2 LFCSP 封裝支持緊湊型解決方案。(圖片來源:Analog Devices)
結語
PROFINET、EtherNet/IP 和 EtherCAT 等 IE 協議可以支持工業 4.0 所需的低延遲自動化和控制網絡接口的需求。為了在確保互操作性的同時加速 IE 部署并降低成本,Analog Devices 推出了一款具有高效 PHY 的參考設計和豐富的預認證軟件套件。
(來源:ADI公司,作者:Jeff Shepard)
免責聲明:本文為轉載文章,轉載此文目的在于傳遞更多信息,版權歸原作者所有。本文所用視頻、圖片、文字如涉及作品版權問題,請聯系小編進行處理。
推薦閱讀:
數字控制回路的模擬組件(模擬控制器轉向易于編程的數字控制環路)




