【導讀】設計師在查看任何電子元件目錄時,能夠很明顯地注意到,會有很多潛在的微控制器(MCU)選項。可供選擇的產品種類繁多,從另一側面也證明MCU已成為現代系統實現中必不可少的一部分,目前很難找到不包含MCU的電子產品。
設計師在查看任何電子元件目錄時,能夠很明顯地注意到,會有很多潛在的微控制器(MCU)選項。可供選擇的產品種類繁多,從另一側面也證明MCU已成為現代系統實現中必不可少的一部分,目前很難找到不包含MCU的電子產品。
考慮到設計師需要為設計找到最佳選項,而且要以一種更有條理的方式區面對快速的變化,這種廣泛的可能性也呈現出巨大的挑戰。在查看MCU選項時,需要考慮以下七個關鍵方面,這樣能夠有助于找出目錄中哪些產品最能滿足您的特定需求。
架構
對于嵌入式設計,最重要的考慮因素是MCU核心處理器內核性能是否可以充分滿足預期的工作要求。基本的8位流水線(pipeline)型MCU能夠處理涉及監控I/O端口,并根據這些輸入更改狀態等控制任務。但是,如果任務中涉及算法(例如閉環控制)中輸入的算術操作,則系統可能需要更復雜的指令集,這需要轉移到16位甚至32位流水線型MCU。位數較高的流水線MCU具有將采樣和其他實際數據一并處理的優勢。 而對于一個8位流水線MCU,除了最小數據值外,所有其他數據均需要分成子單元進行處理,這會影響性能。對于閉環控制,能夠支持數字信號處理的16位架構通常會在成本與算術性能之間具備最佳平衡。但是,對于需要支持控制、通信和管理等復合功能的系統,可能需要更高的32位流水線MCU能力。
圖1:PIC18F46Q10T-I / PT是Microchip深受市場歡迎的PIC系列8位MCU。
I/O端口
使用MCU進行設計的巨大優勢是它們都具有多種集成的I/O端口。通過精心選擇I/O端口的組合,這些端口可以專門針對一些特定應用量身定制,端口可以從寄存器可編程數字信號線到智能電機控制單元,再到用于IoT連接的整個無線子系統。首先確定應用需要哪些功能,通常可以直接使用參數搜索來創建合適器件的候選清單。在理想的情況下,總有一個MCU具有應用所需的全部I/O。但是,現實卻可能不是這樣,尤其是對于更多的細分市場設計。許多外圍設備都符合通用接口規范(例如I2C或SPI),或者可以采用并行接口,由此可以連接到存儲器總線,或者可以通過控制通用I/O線進行訪問。通過分析設計中所需的外部組件可確定除內置外設之外,MCU是需要串行I/O還是并行I/O端口。
存儲器
存儲器通常是在MCU系列中選擇特定部件的主要考慮標準。由于外部存儲器會增加總體成本,而且訪問所需的額外周期常常會降低性能,因此,盡管通常在系統斷電時可使用外部串行存儲器用于存儲配置數據,確保目標應用與所選MCU的存儲器限制能夠匹配非常重要。至于性能評估,設計團隊需要估計具體應用和隨附的操作系統(如果只需要一個操作系統)會在程序和數據存儲方面占用多少字節。通常,在選擇MCU之前,應用無法完全確定。此外,即便使用函數點(function-point)分析之類的估算技術,仍然很難確定實際存儲器使用情況的準確預測。因此,建議選擇一個MCU系列,它能夠輕松調節包括閃存和SRAM等存儲器大小。由于MCU都具有配置多種存儲器大小的變型,因此通常可以直接轉換到下一個器件,而不會影響引腳布局或設計的其他方面。
功率
能耗已成為嵌入式系統設計人員考慮的一個主要問題。當今的許多物聯網項目都會依靠單節電池運行數年,即使對于采用市電供電的系統,能效目前也已成為工程師的核心考慮標準之一。通過精心選擇MCU可以有多種方式來提高能效。一種是繼續轉向更密集的處理,以便利用擴展的優勢(不僅局限在邏輯和存儲容量上,而且在功耗方面)。然而,當MCU必須運行的工作載荷較輕時,通常可以策略性地采用低活動性和睡眠模式來提高能效。將活動分解成短脈沖,設計人員可以利用睡眠模式將電流消耗降低到僅為nA級。此外,越來越多的MCU可提供智能外圍控制器,使得無需喚醒處理器內核即可執行常規功能。這樣可以使睡眠時間最大化,因而減少了運行該應用所需的功率。

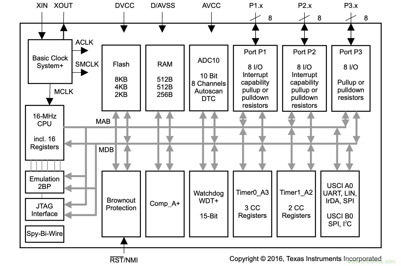
圖2:德州儀器(TI)MSP430F2132QRHBREP的框圖。
工具支持是許多領先MCU架構的關鍵差異化因素。盡管通過參數搜索會得到來自不同處理器體系結構的多個候選者,但是工具支持在多大程度上能夠適合開發團隊的需求,這是決定選擇哪種MCU的重要考慮因素,同時要強調的是需要考慮開發人員的技能和經驗。擁有大型系統開發所需高級語言深度知識的工程師自然會傾向于使用ARM等32位架構,因為它們能夠提供最廣泛的編譯器選擇。而如果存儲器和成本限制是主要的考慮因素,或許更應該采用8位或16位體系結構,并考慮它們對C代碼可能施加的某些限制。在許多情況下,可以使用各種各樣的工具。編譯器、調試器和鏈接器(linkers)的完整工具鏈支持主要的8位和16位MCU架構,這些工具鏈通常包含在集成開發環境(IDE)中,并且價格非常合理。
封裝
在許多設計中,容納MCU所需的空間是一個重要的考慮因素。用戶經常傾向于選擇采用高集成度MCU解決方案,因為這種方案可以實現緊湊的外形尺寸。但是,核心封裝設計和板級設計可以支持的功能之間需要進行折衷權衡。例如,越來越多的MCU以芯片級封裝提供,以便盡可能減少這些器件所占用的空間。封裝下方的互連密度可能會對PCB設計造成很大挑戰,需要采用成本更高的堆疊和組裝工藝。電路板空間還會受到所需支持組件數量以及目標PCB上可用的布線選擇等影響。在較少層數或靈活的PCB方案中,如果需要大量連接,則MCU周圍布線到I/O、時鐘、接地和電源所需的空間會迅速增大。工程師還需要根據設計的目標用途來考慮將器件安裝在PCB上時的可靠性,高振動和沖擊等工作環境可能會需要采用專用封裝,進而可能需要轉向其他MCU系列。

圖3:基于ARM 32位處理器內核的STMicroelectronics 511-NUCLEO-G070RB開發板。
套件
由于MCU能夠極大地簡化硬件設計,因而在上市時間非常重要的情況下,它是一個理想的設計平臺。供應商現在提供的綜合軟件工具可確保最終應用能夠快速整合在一起。即使有了一些項目加速器,設計團隊也可以通過選擇帶有評估板和開發套件的MCU來獲得更大的領先優勢。這些所選MCU具備現成的開發板,以及典型應用所需的所有附加I/O。此外,許多開發板現在都提供能夠插入主板的I/O板系列,以便工程師可以用比分銷商交付包裹更少的時間組裝定制的硬件解決方案。團隊可以通過簡單地將原型軟件下載到評估系統中來構建概念設計,并可隨時向客戶展示。非常有潛力的是,這些評估套件有可能為產品盡早入市打好堅實基礎,而硬件設計團隊同時開發成本優化的解決方案,從長遠來看,這種解決方案將更具吸引力。
免責聲明:本文為轉載文章,轉載此文目的在于傳遞更多信息,版權歸原作者所有。本文所用視頻、圖片、文字如涉及作品版權問題,請聯系小編進行處理。





