中心議題:
- 電阻測試基本原理
- 電阻測試的常用技術
解決方案:
- 開爾文連接測試技術
- 電阻隔離測試技術
- 分離開爾文連接測試電阻
- 極小值電阻的測量技術
1 引 言
在半導體工藝中許多器件的重要參數和性能都與薄層電阻有關,為提高厚、薄膜集成電路和片式電阻的生產精度,需要使用設備儀器如探針臺、激光調阻機對其進行測試或修調。一般所用的測量儀器或設備都包含連接、激勵、測量和顯示單元,有時還有后期數據處理單元。采用不同的測量方法和不同的連接方式引入的測量誤差不同,得到的測量精度也不同。通常開關矩陣中繼電器觸點閉合電阻為1Ω左右,FET開關打開時的電阻為十幾歐,引線電阻為幾百毫歐。如何根據需要減少測量誤差是測試技術的關鍵之一。
2 電阻測試基本原理
在電阻測試中我們常采用恒流測壓方法、惠斯通電橋(單臂電橋)和雙臂電橋方法。
2.1 恒流測壓方法
圖1中, r是引線電阻與接觸電阻之和;I是程控恒流電流源; V是具有極高輸入阻抗的電壓表,它對恒流電流源不產生分流作用。施加已知的恒定電流I,流過被測電阻R t,然后測量出電阻兩端的電壓V,當R t>>r時,根據公式Rt=V/ I 就可算出電阻值。

2.2 惠斯通電橋方法
圖2中,V1,V 2是程控恒電壓源;Rstd是標準電阻; Rt是被測電阻;I是電流表。當電橋平衡即流過電流表I的電流為零時,有V1 /V2=Rstd/R t,由此可計算出Rt=R std×V2/V1 。

[page]
2.3 雙臂電橋方法
單臂電橋測量范圍為10~106 Ω,單電橋測幾歐姆的低電阻時,引線電阻和接觸電阻已經不可忽略。而雙臂電橋適用于10-6~102 Ω電阻的測量,它是改進的單臂電橋,如圖3。將電橋中的中低電阻 Rt和R改成四端接法,并在橋路中增加兩個高阻電阻R3和R4,則大大降低了引線電阻和接觸電阻的影響。

本文主要介紹恒流測壓法。當被測電阻阻值遠遠大于測試引線電阻和測試探針與測試點的接觸電阻時,采用圖1所示的兩線測試的基本方法是可行的,并且也可以獲得相當高的測試精度。
3 開爾文連接測試技術
當被測電阻阻值小于幾歐,測試引線的電阻和探針與測試點的接觸電阻與被測電阻相比已不能忽略不計時,若仍采用兩線測試方法必將導致測試誤差增大。此時可采用開爾文連接方式(或稱四線測試方式)來進行測試,如圖4。

開爾文連接有兩個要求:對于每個測試點都有一條激勵線F和一條檢測線S,二者嚴格分開,各自構成獨立回路;同時要求S線必須接到一個有極高輸入阻抗的測試回路上,使流過檢測線S的電流極小,近似為零。
圖4中r表示引線電阻和探針與測試點的接觸電阻之和。由于流過測試回路的電流為零,在 r3,r4上的壓降也為零,而激勵電流 I在r1,r2上的壓降不影響I在被測電阻上的壓降,所以電壓表可以準確測出 Rt兩端的電壓值,從而準確測量出R t的阻值。測試結果和r無關,有效地減小了測量誤差。
按照作用和電位的高低,這四條線分別被稱為高電位施加線(HF)、低電位施加線(LF)、高電位檢測線(HS)和低電位檢測線(LS)。
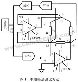
4 電阻隔離測試技術
對于施加的恒定激勵電流能全部流過被測電阻的情況下,使用上述方法測試是很簡便的,比如測試單個電阻。但我們還常常遇到被測電阻與一個電阻網絡并聯的情況,這個電阻網絡會對施加電流有分流作用,導致無法采用上述方法進行測試,在這種情況下我們必須采用電阻隔離測試技術,其測試電路原理如圖5。

[page]
圖中,Rt是被測電阻, R1,R2串聯后再與 Rt并聯;A1,A2是高輸入阻抗、高精度運算放大器;DVA是高輸入阻抗、高精度差分電壓的程控放大倍數儀用放大器,它的輸出與數模轉換ADC相連;DAC是電流輸出型數模轉換器,DAC與A1構成程控恒流源;根據計算機控制,DAC輸出不同的恒定電流If。
A2構成電壓跟隨電路使Vc =Vb,從而I1=0。因此計算機通過16位電流輸出型DAC設定If 就控制了流過被測電阻Rt的電流I t,再通過由DVA和ADC構成的電壓檢測電路測試出 Rt兩端的電壓就可算出Rt 的阻值。
這種方法等效于將R1 斷開,把被測電阻單獨隔離開來進行測試的情況,因此稱其為電阻隔離測試技術。
5 分離開爾文連接測試電阻
電阻隔離測試對絕大多數復雜電阻網絡都適用,但應用到極少數電阻值比率極大的電阻網絡時就會產生一些問題。如圖6, R2/R1=6000,R 3/R1=4000,如果按圖5連接來測試電阻 R3時(即圖6-(a)連接),設施加電流 It為200μA,則在R3 兩端產生8V壓降,R2由于被隔離,其兩端電壓為零,所以在R1兩端必然產生8V電壓,導致 R2的功耗為 V2/R1=6.4W,這顯然是不允許的。如果把HP和LP 位置互換,由于A2不是理想器件,存在一定的失調電壓 Vos,即使小到20μV,在R1 上也會產生2μA的電流,使流過R3的電流產生1%的偏差,造成測試精度大大下降。

在這種情況下可以采用一種變形的開爾文連接方式來進行測試,不再使用隔離方法。它仍采用四根線,但根據需要將其中一對或兩對F,S線分開接在不同的點上來進行測試。這種方式稱為分離開爾文連接方式。本例中三個電阻要進行四次測試才能計算出它們的阻值,四次測試的接法分別見圖6中的表,圖中1,2,3點為連接點。圖6-(b) 接法可直接測出R1的值;圖6-(c)可測出 R2與R3的并聯值R p;圖6-(d)和圖6-(e)分別測出阻值R2 ′和R3′。分析可知:
R2′/R 3′=R2/R3 ,
1/Rp=1/R2+1/ R3;
由此可以解出:
R2 =Rp×(1+R2′/ R3′),
R3=R 2×R3′/R2 ′。
在測試中還常常遇到被測電阻的兩端都沒有測試點,隱藏在電阻網絡中的情況,如R-2R網絡。這時也需要使用分離開爾文連接來進行測試。
6 極小值電阻的測量技術
對于極小阻值范圍的電阻測量可以采用圖7所示電路完成,它可以測量10~ 80mΩ的電阻。通過差分運算放大電路,把被測電阻產生的微弱電壓信號放大100倍,因此實際電阻值是測量值要除以100。圖中運放UI采用低噪聲、高速、精密運放,如OP-37EJ,AD645或MAX400。和高電位施加線(HF)串聯的電阻R1是用來匹配電流施加模塊的最佳輸出負載,R2到R5采用高精度高穩定性的電阻來保證差放電路增益的穩定,這決定了測量的精度和重復性。為了保證精度,對運放的電源電壓要求很高,電路的安裝位置要盡可能靠近被測電阻,所有探頭要盡可能短,C2,C3要盡可能靠近運放。

7 結束語
由于自動測試中要不斷地改變被測電阻,同時又要根據情況靈活地選擇測試方法和連接方式,因此實際生產中是使用探針卡將被測電路與系統相連,通過繼電器或FET開關組成的開關矩陳由軟件適當切換來提高測試速度和生產效率。同時在不同的測量中探針采用不同的接法,如直線四探針法和方形四探針法,可克服各種因素的影響,優化測量結果。如上所述,只要我們結合被測電阻的具體情況,靈活合理地應用上面介紹的測試技術,就可以得到滿意的測試結果。制造出高質量的厚、薄膜集成電路和片式電阻來。





